當前位置:
首頁 > 濠江區人民政府門戶網站 > 走進濠江 > 民生熱線 > 民生動態
6月22日下午,汕頭市潮南區疾控中心發布《情況通報》。
通報稱,2021年6月22日上午,接廣州市通報,潮南區兩英鎮墻新社區新世紀華庭住宅小區劉某等2人和司馬浦鎮窖洋村彭某等2人為該市新冠肺炎確診病例的密切接觸者。市、區疾控中心立即按照防控預案,開展流行病學調查,環境采樣檢測,對4名密切接觸者的居所進行終末消毒,并對所在住宅小區和片區群眾開展核酸檢測。同時將密切接觸者及已甄別的次密切接觸者閉環轉運、集中隔離醫學觀察。4名密切接觸者返汕后核酸檢測結果均為陰性。
請市民朋友們不信謠、不傳謠、不造謠,積極配合疾控部門做好相應的防控措施,近期非必要不出境、不出省、不出市,并動員疫情發生所在市的親朋好友近期非必要暫不返汕,以減少人員流動,降低傳播風險。同時請14天內曾到過疫情發生所在市的來汕返汕人員,第一時間向所在村(居)委會報備,并積極配合健康碼查驗、核酸檢測、健康監測等健康管理措施。
再次提醒各位市民:疫情風險仍在,做好個人防護不放松!

據汕頭市衛健局消息,根據國家和省的統一部署,汕頭市從6月10日起全力推進新冠疫苗第二針的接種工作。截至21日12時,全市累計接種326.6萬劑次,已完成全程免疫接種共99.6萬人,18至59歲目標人群第一劑次接種率超過70%。

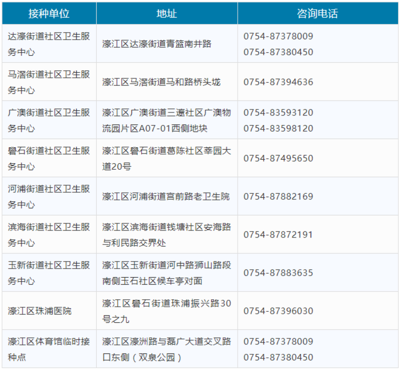
【濠江區疫苗接種相關事項咨詢】 濠江區疾病預防控制中心:87378455 【濠江區遲發疑似接種異常反應咨詢】 濠江區人民醫院:89694661 濠江區新冠病毒疫苗接種點 ▼




